网站图标 精彩的工程

亚马逊专利的水下仓库新设计,以更快地交付

Geekwire

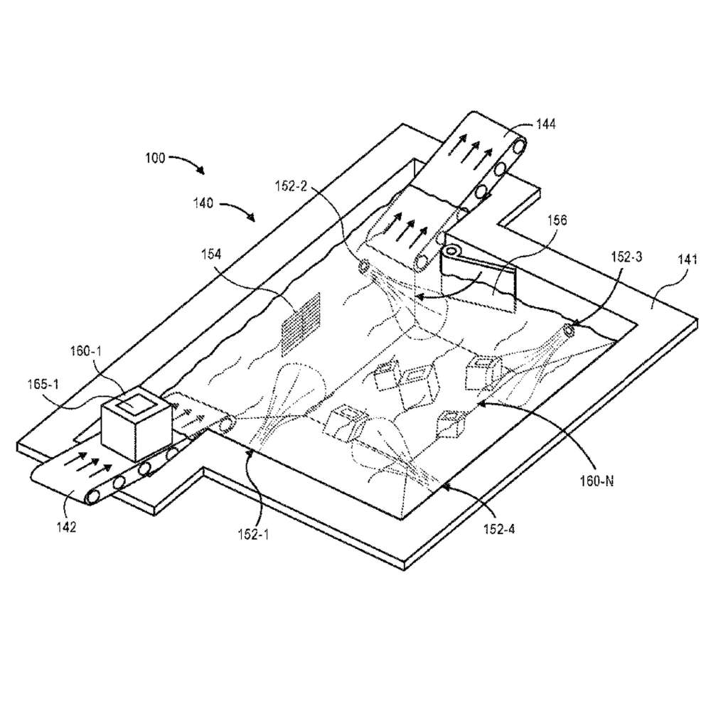
这不会是我们第一次听说来自亚马逊的奇异想法,但该公司刚刚提交了专利对于疯狂的水下存储中心,声音将调用其包装。

该专利将该想法标记为“水上履行中心”,该中心将在湖泊和其他水体的底部存储货物。持有货物的防水容器将使用降落伞掉入水中,根据其密度的不同,它们会在水下下沉到不同的水平。为了将这些包装恢复到地面,将使用声音或脉冲,以改变上述包装的密度。

USPTO

包装的密度将通过更改内部的空气电荷而变化,类似于空气通过闪电电离的方式。做同样的方法的另一种方法是使用控制阀从柔性膀胱中添加或去除流体并更改音量。

USPTO

将包装恢复到地面的另一个想法是,当包装准备分发时,将使用气球。亚马逊已经在处理他们的交付无人机,他们还提出了一个想法飞艇。所有这些都可以融合在一起,形成一个完整的交付系统,人类的参与度最少。

将包裹放在水下的想法对某些人甚至可能听起来很愚蠢,但是亚马逊有一个充分的理由。由于现有的基于地面的履行中心“包括越来越大,复杂的设施,具有广泛的功能和高科技住宿,并设有高达一百万平方英尺或更高的储藏区。”

USPTO

建立水上性中心将使垂直空间更有效地使用,同时最大程度地减少工作人员的步行。专利提到,工作人员必须在仓库内走几英里才能检索物品,并且自动化的水生系统将消除需求。

USPTO

在您对这个想法的荒谬性感到兴奋或激怒之前,您应该记住,众所周知,大型公司可以确保这种专利从未得到任何充分利用。这看起来像是同一列表中的另一个补充,但是我们知道了什么。也许无人机很快就会从水下商店获取您的订单,并将其直接运送到您的门台阶。