新的Microsoft Surface将配备其自己的太阳能电池板

广告

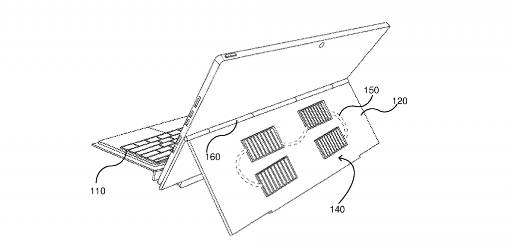
什么都可以嵌入到键盘中?USB?还是想进一步,演讲者?但是微软认为更大!随着节能的炒作,该公司刚刚启动了一项专利,以引入太阳能电池板安装的键盘,Woo!

您可以找到名为“带有集成太阳能电池板的移动设备盖”的专利细节。因此,微软正在领导能源和电力保护竞赛!竞争对手尚未想到将非规定能源纳入设备中,这种方法已经赢得了许多人的心。面板应为可拆卸的键盘以及连接的设备提供能量。不再担心电池使用情况,因为您的笔记本电脑将很快照顾它。

该技术也被称为Surface-Pro,具有另一个引人注目的功能。在用户忙于完成工作时,可以为面板充电,这意味着,生产率会加倍。您不必休息一下并检查电池。此外,任何光源都可以在面板附近放置以充电。无论哪种方式,双赢的情况。

为了向微软的Surface家族提供一些灯光,每个新型号都为其祖先的创新和优雅提供了。Surface Pro X因其对可持续性的贡献而闻名。表面GO结合了笔记本电脑和平板电脑的好处。每个发行版中,一家人总是为节目带来新的东西。毫无疑问,在封面上添加一个键盘,适合Microsoft和Surface任务的更大局面。

Surface偷偷窥视市场,竞争iPad家族,是一种便携式动力设备,尽管电池寿命较小,但价格并没有损害价格。在这里,小组的想法也应发挥有益的作用。

该提议刚刚获得了专利,没有关于该释放的最终消息。但是设计,预期的应用程序及其具有收益潜力的市场价值,加起来可以加强案件。不可避免地,这对竞争对手来说将很难。

技术思维中有很多问题。至于太阳能电池能够制造多长时间?还是该体系结构有多支持?yabo168vip com值得大量的钱吗?或只是另一个业务或宣传特技!

广告

发表评论

您的电子邮件地址不会被公开。