特斯拉已经获得了激光挡风玻璃刮水器的专利 - 但是它们实际上将如何工作?

广告

在这一点上,埃隆·马斯克(Elon Musk)可以谈论发明时间机器,这并不奇怪……

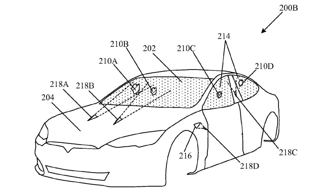
似乎特斯拉最近为激光束挡风玻璃雨刷登记了专利,我们甚至不确定如何工作。根据专利细节,这是一个“清洁系统”,它使用光束光学组件,可检测碎屑并在玻璃上的目标区域发射激光束。而且由于碎屑,它们可能意味着水,因为那是挡风玻璃主要使用的?

如果您是《星球大战》迷,那么拥有激光光束,因为您的汽车的挡风玻璃对您来说就像是梦想成真,但还不要太兴奋。为了避免使驾驶员蒙蔽并穿透玻璃,激光束的强度不会太强大。哦,感谢上帝,否则他们也必须发明激光驱虫眼镜才能与他们一起去...

应用因为激光束刮水器是在2019年5月提起的,但于当年晚些时候出版。同时,两年后,美国专利商标局本周早些时候刚刚授予了该汽车公司的专利。这项不寻常的专利是众多专利之一,因此特斯拉实际上很快就会引入激光挡风玻璃刮水器。可以将其视为特斯拉的塞伯拉克(Cyber​​truck),它是几年前引入的,但仍然没有任何消息即将推出。到目前为止,人们应该将人们用于特斯拉介绍奇怪的新想法,然后将来完全欺骗该项目。

尽管没有关于激光束刮水器的消息,但基于电磁技术的挡风玻璃雨刮器周围有一些猜测,实际上可能看到了光线。

广告

发表评论

您的电子邮件地址不会被公开。